蘋果20周年紀念版iPhone曝光:顯示效果更亮

蘋果20周年紀念版iPhone曝光:顯示效果更亮

文章圖片

蘋果20周年紀念版iPhone曝光:顯示效果更亮

文章圖片

蘋果20周年紀念版iPhone曝光:顯示效果更亮

文章圖片

蘋果20周年紀念版iPhone曝光:顯示效果更亮

文章圖片


隨著iPhone 17系列手機的發售 , 蘋果后續的新機計劃也逐漸曝光了 。
有消息源指出 , 2027 年是 iPhone 問世 20 周年 , 就像當年 iPhone X 作為 10 周年特別機型一樣 , 蘋果也很可能會在這個重要的節點推出一款具有紀念意義的全新 iPhone 。

此前有消息稱 , 蘋果計劃在 Vision Air 上采用一種全新的顯示技術 , 讓屏幕更薄、更亮 。
由此可以推測 , 這項技術有望在同一年首次登上 iPhone 。
據悉 , 目前常見的手機屏幕由多層結構堆疊而成:顯示面板、觸控層、濾光層和蓋板玻璃等 。 雖然這種設計能實現各種功能 , 但層數的增加不僅讓屏幕更厚、成本更高 , 還會在一定程度上削弱光線穿透率 , 從而影響亮度和觀感 。

因此 , 將多種功能集成到更少的層級中 , 一直是顯示技術領域探索的方向 。 而三星再其折疊屏手機上使用的一項名為 CoE 的技術 , 可能就是蘋果下一步的目標 。
參考線有資料 , CoE(Color filter on encapsulation , 封裝上彩色濾光片)技術 , 就是把發光層和彩色濾光片直接整合到同一塊基板上 。 這樣一來 , 屏幕厚度可以進一步減少 , 光路也更短 , 從而顯著提升亮度 。

蘋果計劃在 2027 年將 CoE 技術應用于兩款重磅產品 。
第一款是Vision Air , 作為 Vision Pro 的后續產品 , 它可能會擁有更親民的定位和更輕巧的設計 。
另一款則是 2027 年的全新iPhone , 預計叫做“iPhone Pro” , 是一款全新的、以「玻璃」為設計中心的 iPhone Pro 機型 , 但設計細節目前未知 。

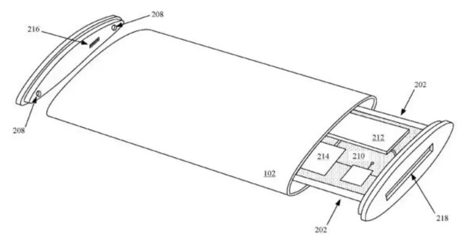
不過作為參考 , 蘋果近日獲得了一項名為\"電子設備環繞式顯示屏\"的專利 , 最新獲批版本最初于2019年申請 , 著重描述了如何在透明外殼內集成柔性顯示屏 , 使圖像顯示可覆蓋設備任意表面 。

專利文件顯示 , 傳統iPhone/iPad設計導致側邊與背部空間利用率不足 , 而環繞式屏幕能最大化利用設備表面 。 技術核心涉及柔性顯示模組的制造工藝 , 屏幕可隨需求在設備框架不同位置移動定位 。
雖然專利主要聚焦理論制造流程 , 但暗示了類似折疊屏設備所需的關鍵技術突破 。

值得一提的是 , 喬布斯曾提到過自己理想中的 iPhone:是能夠像一塊「充滿魔力的玻璃」的手機 , 沒有其他多余的設計 。
而這款全新的 iPhone Pro , 似乎就有些符合喬布斯的這一定義 , 大家可以期待一下 。

除了新機爆料 , 蘋果目前已經停止對iOS 18.6.2的簽名驗證 , 這意味著已升級到iOS 26的iPhone用戶無法再降級到iOS 18.6.2 。

【蘋果20周年紀念版iPhone曝光:顯示效果更亮】蘋果并沒有強迫用戶安裝iOS 26 , 可以選擇繼續使用iOS 18 , 但一旦設備升級到iOS 26 , 就沒有回頭路了 。 所以想升級系統的小伙伴一定要慎重考慮 。

    推薦閱讀