
文章圖片

文章圖片

目前量產的三折疊屏手機僅有華為有 , 雖然例如傳音、三星均曾經展示過三折疊的概念機 , 但是量產機遲遲沒有上市 。 而近日 , 三星三折疊Galaxy Z TriFold的專利曝光 , 根據爆料消息 , 這款機型預計最早將在11月在三星APEC峰會展示 , 將與華為在三折疊屏手機市場競爭 。
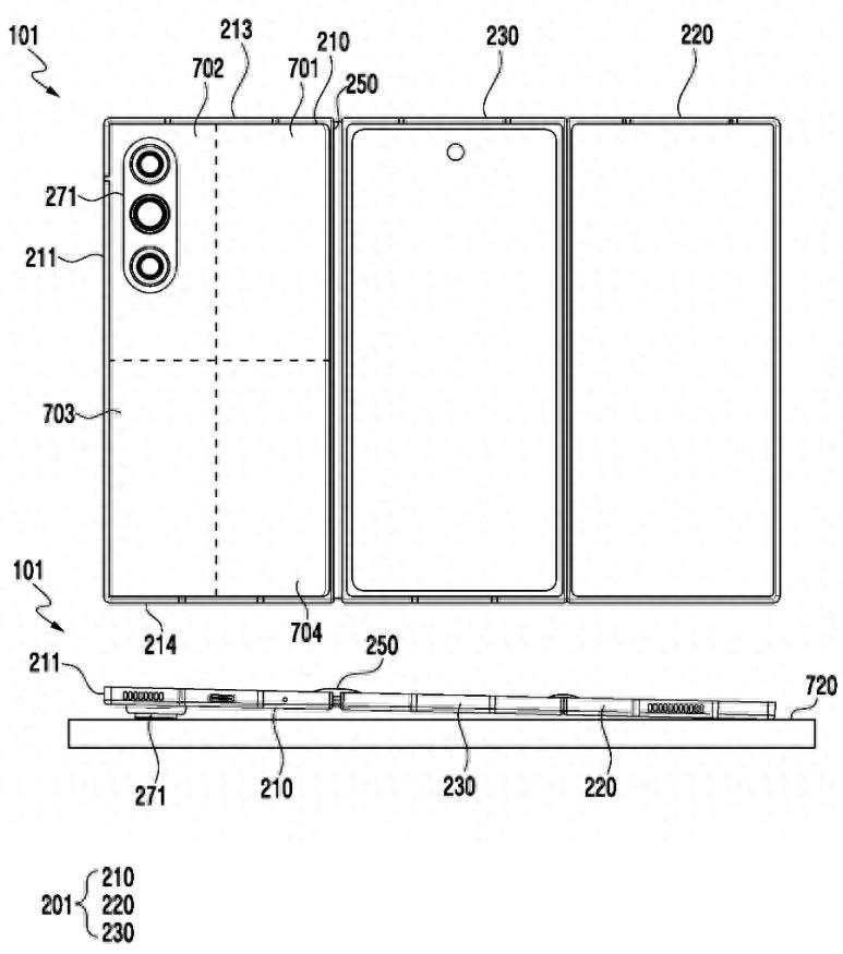
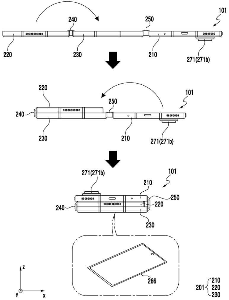
從三星三折疊的專利圖來看 , 造型上看起來有點像三星Galaxy Z Fold7多了一塊屏幕 , 不過內部結構有所調整 , 三折疊手機配備了三塊電池 , 其中后攝模組所在的區域配備的電池容量最小 。 有意思的是 , 結合三星三折疊之前演示動畫 , 三星三折疊還能提供反向充電 。
在折疊設計上 , 與華為三折疊“Z”型也有所不同 , 三星采用的是“G”型折疊 , 就是兩側的屏幕一起向內折疊 , 相對來說 , 會更好保護手機的屏幕 , 但是缺點之一 , 手機相對會更厚一些 。 而根據內部結構圖來看 , 折疊之后位于中間部分的電池容量最大 , 擁有外屏的部分電池容量相對要小一點 。
【三星三折疊手機專利曝光,G型折疊三塊電池,有望最早11月發布】
上半年 , 三星發布的輕薄手機Galaxy S25 Edge展示了自家在手機輕薄化的能力 , 將手機厚度控制到5.8mm , 這其實也可以理解為 , 三星正在為自家推出三折疊屏手機做“輕薄化”的基礎 , 所以三星三折疊屏手機大概率是真的要來了 。
不過目前華為的三折疊手機已經發布第二代 , 價格相比第一代下調了2000元到17999元 , 成本有所下降 , 對于三星來說 , 首款三折疊手機定價也是一個值得考慮的問題 , 不過大概率售價不會比華為便宜 。
推薦閱讀
- 蘋果計劃為折疊屏手機提供鈦鋁邊框:展開后比Air更輕薄
- 三星鎖定 HBM4 大單!聯手 AMD 挑戰英偉達,AI 存儲格局生變?
- 傳聞蘋果折疊屏iPhone采用混合金屬框架,有望命名為iPhone Ultra
- AMD官宣下代GPU顯卡三大關鍵特性!光追、超分更強
- 2K檔手機性價比排行榜揭曉:REDMI K80系列霸榜前三
- 前三全是REDMI K80系列!2K價格檔位無敵了,不愧是一代神機
- 三星One UI 8.5系統即將開啟測試,Galaxy S25系列有望首發
- vivo再次拿下國內份額第一!連續四年三個季度領先
- 蘋果首款折疊屏更多參數曝光:1.3萬元你會買單嗎?
- iPhone 17e前瞻,折疊iPhone面板三星獨家供應
